Содержание
Как напугать птиц с огорода — схема отпугивателя собственными руками

При всей нашей любви к пернатым бывают места и ситуации, когда их присутствие нежелательно. Это аэродромы и садовые участки, где птицы нещадно уничтожают с любовью выращенный, желанный урожай.
Придумываются любые способы, как напугать птиц, и они все работают с той либо другой степенью успешности. Некоторые несложные в изготовлении устройства для отпугивания птиц можно создать собственными руками.
Попытаемся кратко рассказать о том, как напугать птиц с участка сада, о различных видах отпугивателей, их пользе, правилах использования, стоимости, приведем пример изготовления нескольких вариантов обычных конструкций самодельных отпугивателей.
Средства отпугивания птиц

Рассмотрим основные фонды отпугивания птиц на дачном участке:
- Страшилище. Одно из очень первых средств отпугивания птиц когда-нибудь используемых людьми в борьбе за урожай. Делают его, в основном, из старой одежды, прибавляя форму человеческой фигуры. Устанавливают страшилище в огороде очень близко от слабых мест, там, где растут плоды и ягоды, которыми в большинстве случаев лакомятся птички. Самое эффективноепугало по признанию опытных владельцев дачи – силуэт охотника или пугало хищной птицы. Неподвижное страшилище вызывает у птиц реакцию избегания, правда, лишь первое время после его установки. По истечению определенного времени, птицы, особенно оседлые, проживающие в этой местности, приспосабливаются к пугалу и перестают его подмечать. Значительно увеличить результативность чучела можно при помощи придания ему подвижности;
- Разные трещотки, колокольчики тоже успешно исполняют роль отпугивателей — птицы боятся чужих звуков. Звуковой шум доставляет им дискомфорт, мешая заниматься ежедневными делами. Одним из самых прекрасных средств отпугивания – специализированные звуковые установки. Ультразвук спасает от присутствия птиц в радиусе 10-20 м нахождения от них. Но, при всей собственной эффективности имеет негативное влияние и на человека;
- яркий свет также имеет раздражающее действие на птиц – он дезориентирует их. В местах накопления птиц (к примеру, на крыше или на заборе из рабичной сетки) прекрасно использование называемых по другому ламп – вспышек. Яркие лучи света, вспыхивания, которые издает такая лампа, разгоняют птиц;

Инновационные средства защиты

Сегодняшней промышленностью предлагаются средства отпугивания птиц, способны гуманно отогнать птиц. Их можно применять на территории России:
- Биоакустические устройства, в основном, снабженные датчиком. Данные устройства копируют крики птиц или крики, предупреждающие об опасности. При появлении птиц в радиусе, к которому чувствительный измеритель, происходит воссоздание криков хищника (ястреба, сокола, совы). Устройства такого типа удачно применяются на аэродромах, нефтяных платформах, полигонах, свалках. Порой их используют и в середине помещений – в ангарах, тайниках, складах. Биоакустические устройства мобильные, работают в радиусе полукилометра. Стоимость звуковых средств защиты от птиц очень большая. Покупать их для дачи, быстрее всего, будет не рентабельно;
- Ультразвуковые отпугиватели больше всего популярны на данное время среди садоводов. Ультразвук не переносят не только птицы, но и кроты, присутствие которых на участке также нежелательно. Уловив колебания звука, они пытаются покинуть это место;
- Отлично отпугивают птиц газовые пушки. Громкие звуки не импонируют птицам, от них они разлетаются по сторонам.
А в данной статье читайте про укладку брусчатки.
Как выполнить отпугиватель птиц

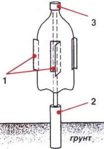
Рассмотрим способ изготовления обычного отпугивателя из обыкновенной бутылки из пластика.
Для производства потребуются:
- Бутылка из платика 0.5 л, можно больше, кому как нравится;
- Фломастер;
- Ножницы;
- Выносливая проволока;
- Фольга;
- Палка для штатива.
Очередность действий:
- На бутылке при помощи фломастера проводим 4 вертикальных линии через равное расстояние ( например, спустя каждые 1,5 см). Добавляем к вертикальным линиям — горизонтальные с двух сторон бутылки. Обязано получиться 4 буквы «С». аналогичным образом мы проектируем будущие лопасти вертушки;

- Вырезаем ножницами намеченные линии. Загибаем наружу вырезанные части бутылки. Приобретаем лопасти вертушки. Приклеиваем к ним полосы фольги для устрашения птиц;
- Через крышку бутылки продеваем проволоку. Один её конец прикрепляем на дне бутылки, второй конец проволки ставится в палку, которую мы приготовили для установки отпугивателя;
- Устанавливаем вертушку на заблаговременно подобранное место в саду. Ветер будет крутить вертушку, фольга формироваться и сверкать, таким образом отпугивая птиц с участка.
Распространенным среди владельцев дачи самодельным отпугивающим средством птиц считается дискобол — устаревший мяч, обклеенный кусочками дисков.
Шар можно создать и из папье-маше. Намного лучше, когда подобных шаров несколько. Раскачиваясь на ветру, они пугают собственным блеском птиц.
Собственными руками можно сделать и пугало. К примеру, в виде хищной птицы. Пугало можно пошить из многоцветных или однотонных лоскутов ткани, наклеить к нему перья «реальной» птицы, сделать большие, устрашающие глаза.
Стоимость отпугивателя птиц

Выбор средств защиты урожая от птиц на данное время очень большой. Каждый садовод сможет без труда выбрать которое подходит под сво показатели устройство.
В специальных магазинах или в сети интернет, можно выбрать недорогое биоакустическое устройство (от 2000 руб.) Примерные стоимости отпугивателей: ультразвуковой отпугиватель – 1850 рублей, громпушка – 18200 рублей, биоакустический – 30000 рублей.
Перед приобретением отпугивателя было бы неплохо познакомиться с отзывами потребителей. В основном, их мнения различаются. Выбор благоприятного средства защиты зависит от большого количества самых разных факторов, также и от численности птиц на участке, их повадок, любимых мест гнездования.
Средства защиты от птиц, вышеописанные, следует менять или применять комплексно. Как мы уже говорили, У птиц есть способность приспособиться к разным жизненным ситуациям, по этому их отпугивание из года в год становится все очень непростым занятием.
Не нужно допустить гнездования птиц на собственном участке сада. Заблаговременно проведите профилактическую работу, уделяя большое внимание крыше дома, сараю, чердачному этажу и мансарде.
Если птицы не приносят большого урона Вашему урожаю, а их пребывание на участке на время и не доставляет Вам неудобств, лучше сделайте для них кормушку. Читайте про это следующую публикацию.
Посмотрите видео про то, как правильно сделать отпугиватель птиц собственными руками: